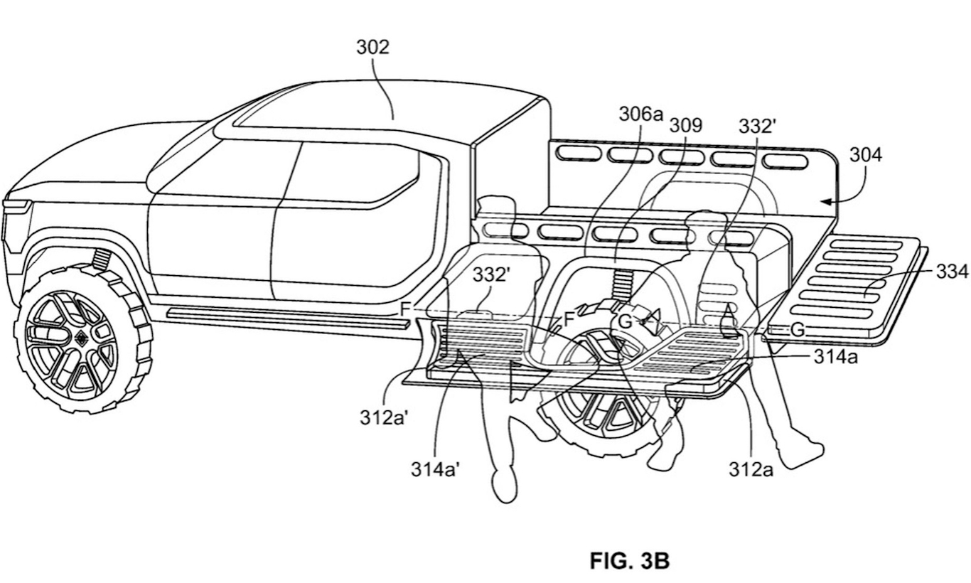
A Rivian tem trabalhado em um exótico sistema de armazenamento de cargas para sua picape R1T. Uma patente vazada nos Estados Unidos, e que foi divulgada pelo site Motor Authority, mostra que os planos da empresa é ter uma espécie de RAM Box evoluído, e com mais opções para os proprietários da picape elétrica.
Nas imagens é possível ver que há painéis laterais dobráveis e multiuso. Eles serviriam tanto para armazenar alguma carga ou até mesmo malas, mas teriam outros acessórios. É possível ver uma mesa e até assentos, que seriam úteis em um piquenique no parque ou até mesmo em um acampamento.
E há mais possibilidades para as laterais da picape da Rivian. Outra imagem da patente mostra o painel lateral aberto de modo que seria possível duas pessoas sentarem nele, ou até mesmo colocar um colchão por cima e transformar a peça em uma cama. Ou seja, ao que tudo indica, a empresa quer mesmo fazer com que sua picape seja o mais versátil possível.
![Patente da Rivian [reprodução]](https://www.automaistv.com.br/wp-content/uploads/2023/04/rivian-bed-storage-patent-image_100880996_h_edited-750x450.jpg)
Com esses modelos em alta, principalmente no maior mercado consumidor de picapes do mundo, que é os Estados Unidos, as montadoras precisam abusar da criatividade para atrair mais consumidores. A RAM já tem seu Box em seus modelos, enquanto a Ford fez a F-150 elétrica ter um porta-malas gigantesco na dianteira, onde normalmente fica o motor.
Além delas, a GM planeja lançar uma função semelhante na traseira de suas picapes norte-americanas. Ou seja, ao que tudo indica, o mercado terá cada vez mais soluções criativas para as caçambas nos próximos anos.
>> RAM 1500 elétrica anda 800 km e acelera de 0 a 100 km/h em 4,4s
>> Chevrolet Tracker RS e Midnight têm motores e itens revelados
>> BYD Yuan Plus aproxima SUVs a combustão e elétricos | Avaliação

![GWM Haval H6 GT [divulgação]](https://www.automaistv.com.br/wp-content/uploads/2023/02/gwm-haval-h6-gt-2024-9_edited-1200x720.jpg)



