A Ford pretende revolucionar a utilidade dos quebra-sóis de seus carros em nome da segurança. Ao menos é o que uma patente da marca mostra, e isso seria feito de uma maneira simples, sem mudar completamente a peça. Afinal, a grande mudança não seria no desenho do acessório em si, mas sim em sua haste de fixação.
A patente foi registrada nos Estados Unidos no dia 10 de outubro. E o seu objetivo seria equipar o quebra-sol com uma peça que pode quebrar os vidros dos carros, em caso de emergência. Dessa forma, os ocupantes dos veículos conseguiriam sair do habitáculo de maneira mais rápida em um resgate.
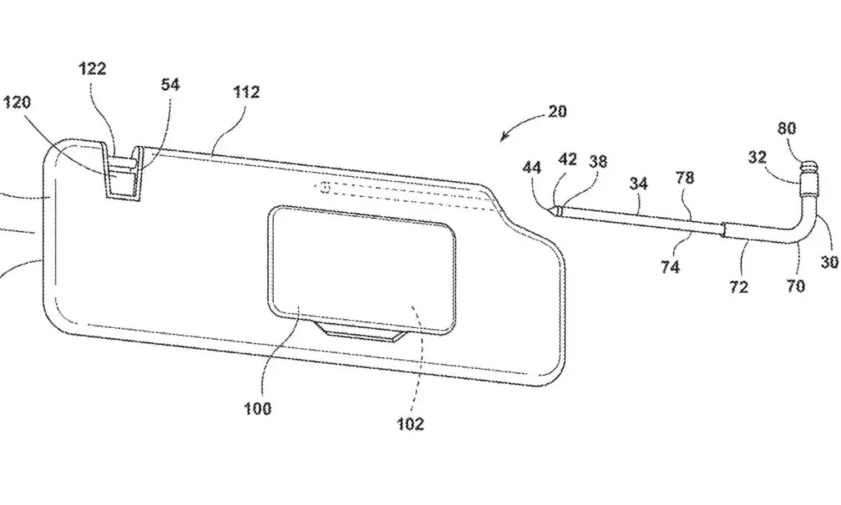
Várias imagens na patente mostram um quebra-sol com aparência normal que você encontraria em qualquer veículo. Ele está montado em uma haste de metal, que permite que você vire o quebra-sol conforme necessário para bloquear o sol.
![Patente da Ford para quebra-sol [reprodução]](https://www.automaistv.com.br/wp-content/uploads/2023/10/sun-visor-rod-patent-750x450.jpg)
Em vez de ser permanentemente montado na haste, o quebra-sol pode ser removido para revelar uma ponta pontiaguda, ou o local de impacto, como mencionado na descrição da patente. A haste também pode ser removida de sua montagem no teto, dando aos ocupantes do carro uma pequena ferramenta que, teoricamente, pode quebrar uma janela.
A maioria das ferramentas de quebrar vidros tem o formato de um martelinho, ou são incorporadas a algo que uma pessoa pode segurar com alguma medida de força. A patente não fala sobre o tamanho deste quebra-vidro integrado, mas menciona consideravelmente a curva em forma de L no design. No entanto, somente um teste prático poderia afirmar se isso ofereceria aderência suficiente para que uma pessoa quebrasse uma janela.

Entretanto, a patente da Ford não fala nada sobre uma eventual quebra acidental que pode ser ocasionada pelo novo objeto. Afinal, os quebra-sóis são montados próximos aos para-brisas, e isso gera um certo receio sobre essas quebras por acidente.
Apesar disso, trata-se de uma boa ideia da Ford e pode dar ao quebra-sol uma nova funcionalidade. No entanto, sempre é importante ressaltar que uma patente nem sempre representa a fabricação de uma tecnologia. Então somente o tempo dirá se a ideia da marca vai ser incorporada aos seus carros, ou se ficará apenas neste registro.
Acha que a ideia da Ford pode ser introduzida nos carros de passeio? Deixe nos comentários a sua opinião.
>> Ford Mustang vira SUV elétrico: Mach E parte de R$ 486.000
>> Creta faz Hyundai atingir marco inédito no Brasil
>> Flagra: Renault Kardian circula com camuflagem pesada no Brasil
![Patente da Ford para quebra-sol [reprodução]](https://www.automaistv.com.br/wp-content/uploads/2023/10/sunvisor-window-breaker-editada-1200x720.jpg)

Faz sentido. Já abandonaram e quebraram concessionárias e peças por aqui. Estão se especializando.