Assim como os carros elétricos demoraram anos até se tornar algo verdadeiramente viável, a Ford quer resgatar uma tecnologia do passado para o presente. Com os carros automáticos cada vez mais dominando o mercado, a marca do oval azul parece ter encontrado uma solução para a boa e velha transmissão manual.
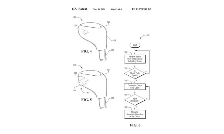
Registros revelados pela Muscle Car And Trucks revelam que a Ford planeja fazer uma transmissão manual que não necessariamente precisa de pedal de embreagem. A ideia é uma evolução do terrível sistema usado pelo Fiat Palio Citymatic e pelo Mercedes-Benz Classe A semiautomático no final dos anos 1990 e começo dos anos 2000.
A ideia da Ford é mais complexa, no entanto. Haverá sim pedal de embreagem para que o motorista use em momentos que haja necessidade ou para trocas mais rápidas. Contudo, para o trânsito ou em horas que a necessidade de conforto é maior, um robô atuará fazendo o acionamento da embreagem. Assim, o motorista só faz as trocas na alavanca.
![Câmbio manual Ford [patente EUA]](https://uploads.automaistv.com.br/2022/02/cambio-fiat_edited-750x450.jpg)
Para esportivos
Essa junção do melhor dos dois mundos deve ser usada somente nos modelos esportivos da Ford. O sistema deve estrear na nova geração do Mustang, que tem lançamento programado para 2023. Já o Fiesta ST e Focus ST (ou RS) também podem usar esse tipo inovador de transmissão manual.
A Ford poderá adotar o câmbio com embreagem automática para o Bronco, visto que o SUV grandalhão anda tendo boa procura pela versão manual. O acionamento automático da embreagem poderá aumentar ainda mais a demanda por esse tipo de variante do SUV parrudo.
![[divulgação]](https://uploads.automaistv.com.br/2022/02/ford_fiesta_trend_5-door_73_edited-750x451.jpg)
>>Chevrolet pode seguir a Ford e só ter SUVs, picapes e esportivos
>>VW Amarok GTI? Versão alemã da Ranger Raptor é considerada
>>Proprietários da Ford Maverick dizem que picape perdeu adesivos nas lavagens

![Câmbio manual Ford [divulgação]](https://www.automaistv.com.br/wp-content/uploads/2022/02/ford_focus_st_estate_822_edited-1200x720.jpg)

Se dependesse de mim vcs ia passar fome porque eu não pagou tão carro num carro de jeito nenhum estaria falidos